8月19日,国家知识产权局回应称,个别企业和自然人把“杨倩”“陈梦”“全红婵”等奥运健儿姓名和“杏哥”“添神”等相关特定指代含义的热词进行恶意抢注(戳链接看此前报道→奥运健儿被抢注商标,奥委会回应),提交商标注册申请,以攫取或不正当利用他人市场声誉,侵害他人姓名权及其合法权益,已产生了恶劣的社会影响。
对此,国家知识产权局予以谴责,并依据商标法第十条第一款第(八)项的规定,对第58130606号“杨倩”、第58108579号“陈梦”、第58265645号“全红婵”等109件商标注册申请(含一标多类)予以快速驳回。
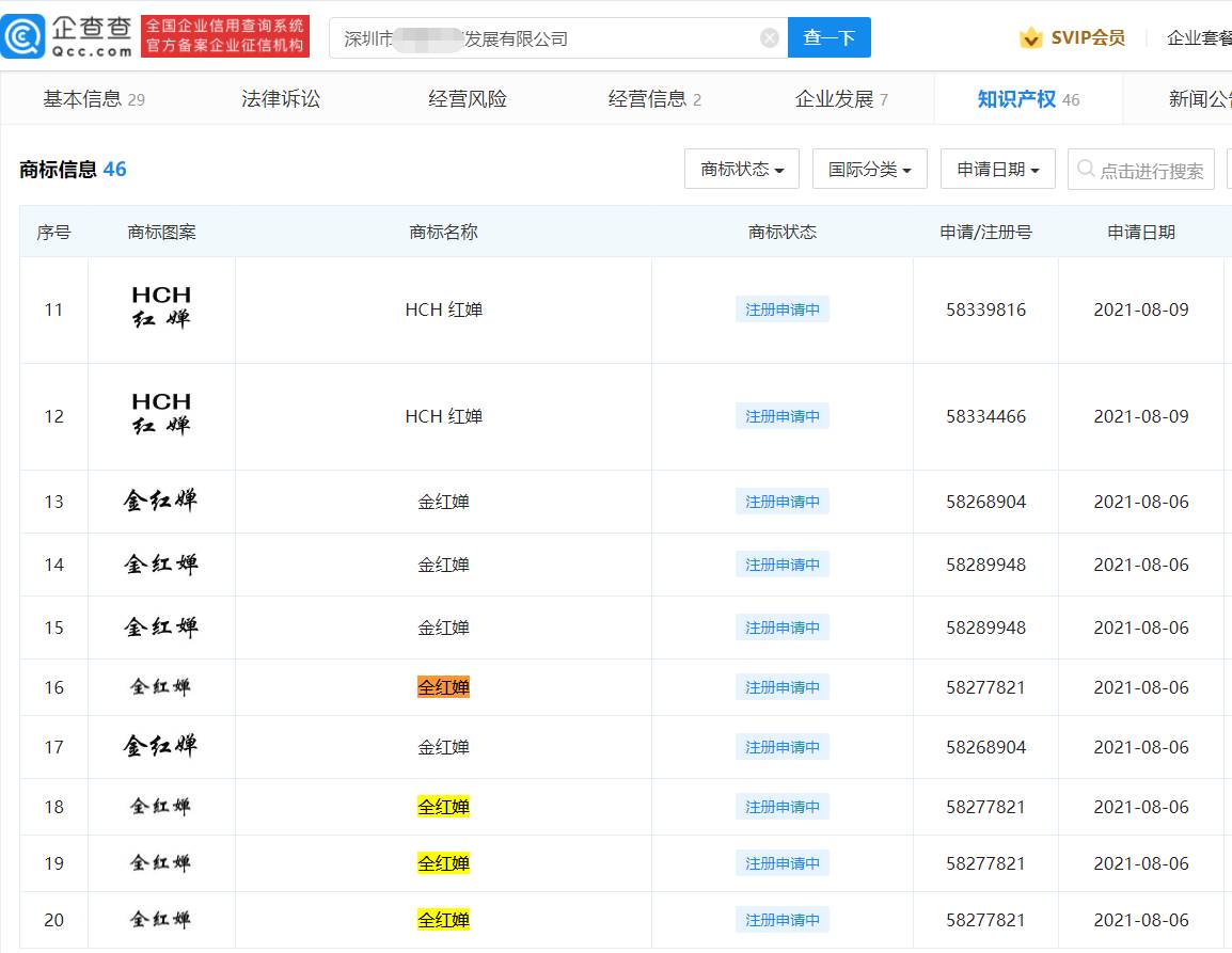
详细名单如下:
(原标题:最新!#杨倩陈梦全红婵等109件商标注册申请被驳回#)
编辑 刘冬妮
